按照ACG短信认证典型配置举例的三层路由模式配置,手机认证界面提示未知异常,请检查短信配置或网络。
互联地址:

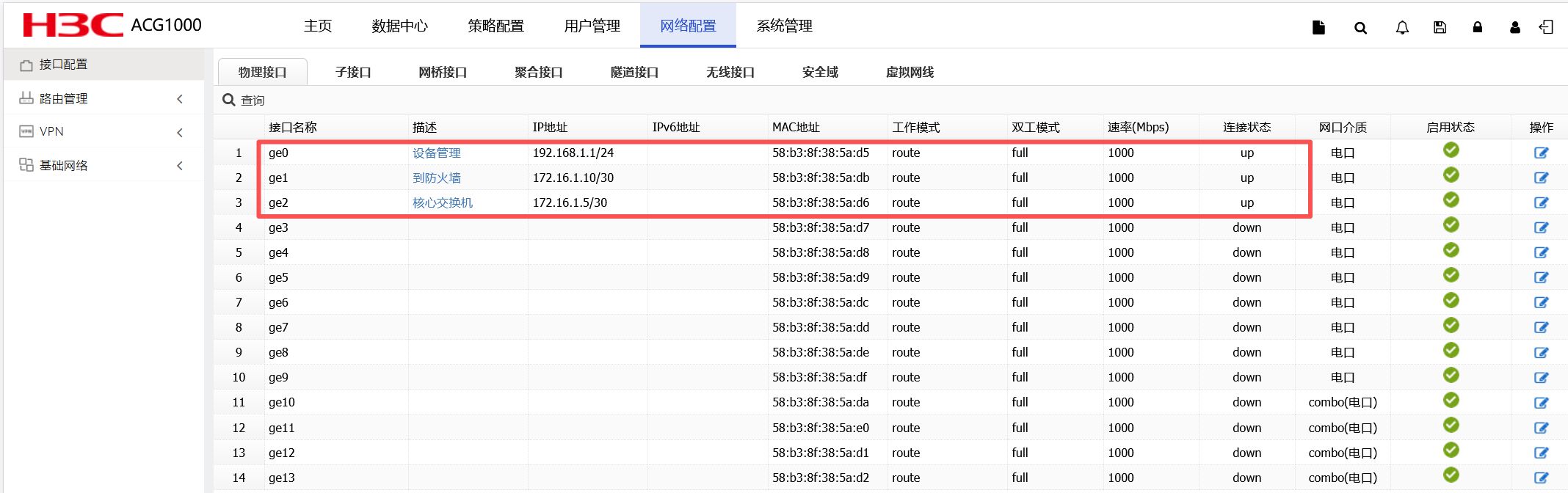
1、ACG与防火墙和核心交换机的互联接口地址,可以互通。

2、配置去往认证网段的静态路由

3、配置员工portal认证和访客短信验证的地址段

4、配置短信服务对象测试可以收到短信,短信平台费用充足且模板库审核是通过状态



5、配置DNS服务器

6、配置短信认证

7、配置短信认证策略

8、配置用户识别范围

9、数据中心查看短信认证匿名用户状态

10、短信认证手机认证界面显示未知异常,请检查短信配置或网络

联通公网专线-F1000防火墙-ACG-核心交换机-接入交换机-AP,AC旁挂核心交换机做本地转发,vlan10为设备管理,vlan 20为员工portal认证,vlan 30为访客短信认证,vlan40为台式机

(0)
portal一般会有free rule,也就是客户端在认证之前先放行客户端和短信网关的流量,你看下free rule放行了没
(0)
某银行局点主要是访客短信认证有问题,portal认证是员工的目前是正常的
某银行局点主要是访客短信认证有问题,portal认证是员工的目前是正常的
亲~登录后才可以操作哦!
确定你的邮箱还未认证,请认证邮箱或绑定手机后进行当前操作
举报
×
侵犯我的权益
×
侵犯了我企业的权益
×
抄袭了我的内容
×
原文链接或出处
诽谤我
×
对根叔社区有害的内容
×
不规范转载
×
举报说明
不好说啥问题了,联系400协助吧