• 全部
  • 经验案例
  • 典型配置
  • 技术公告
  • FAQ
  • 漏洞说明
  • 全部
  • 全部
  • 大数据引擎
  • 知了引擎
产品线
搜索
取消
案例类型
发布者
是否解决
是否官方
时间
搜索引擎
匹配模式
高级搜索

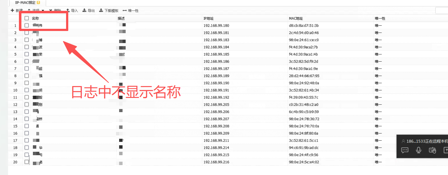
ip-mac绑定,日志中不显示ip-mac绑定的名称,ACG设备串联部署

2025-09-25提问
  • 0关注
  • 0收藏,441浏览
粉丝:0人 关注:1人

问题描述:

组网及组网描述:

最佳答案

粉丝:133人 关注:9人

正常的


在线用户里看下相应用户名

是的

zhiliao_sEUyB 发表时间:2025-09-25 更多>>

是不是要建用户才可以哈

i人我饮酒醉 发表时间:2025-09-25

是的

zhiliao_sEUyB 发表时间:2025-09-25
0 个回答

该问题暂时没有网友解答

编辑答案

你正在编辑答案

如果你要对问题或其他回答进行点评或询问,请使用评论功能。

分享扩散:

提出建议

    +

亲~登录后才可以操作哦!

确定

亲~检测到您登陆的账号未在http://hclhub.h3c.com进行注册

注册后可访问此模块

跳转hclhub

你的邮箱还未认证,请认证邮箱或绑定手机后进行当前操作

举报

×

侵犯我的权益 >
对根叔社区有害的内容 >
辱骂、歧视、挑衅等(不友善)

侵犯我的权益

×

泄露了我的隐私 >
侵犯了我企业的权益 >
抄袭了我的内容 >
诽谤我 >
辱骂、歧视、挑衅等(不友善)
骚扰我

泄露了我的隐私

×

您好,当您发现根叔知了上有泄漏您隐私的内容时,您可以向根叔知了进行举报。 请您把以下内容通过邮件发送到pub.zhiliao@h3c.com 邮箱,我们会尽快处理。
  • 1. 您认为哪些内容泄露了您的隐私?(请在邮件中列出您举报的内容、链接地址,并给出简短的说明)
  • 2. 您是谁?(身份证明材料,可以是身份证或护照等证件)

侵犯了我企业的权益

×

您好,当您发现根叔知了上有关于您企业的造谣与诽谤、商业侵权等内容时,您可以向根叔知了进行举报。 请您把以下内容通过邮件发送到 pub.zhiliao@h3c.com 邮箱,我们会在审核后尽快给您答复。
  • 1. 您举报的内容是什么?(请在邮件中列出您举报的内容和链接地址)
  • 2. 您是谁?(身份证明材料,可以是身份证或护照等证件)
  • 3. 是哪家企业?(营业执照,单位登记证明等证件)
  • 4. 您与该企业的关系是?(您是企业法人或被授权人,需提供企业委托授权书)
我们认为知名企业应该坦然接受公众讨论,对于答案中不准确的部分,我们欢迎您以正式或非正式身份在根叔知了上进行澄清。

抄袭了我的内容

×

原文链接或出处

诽谤我

×

您好,当您发现根叔知了上有诽谤您的内容时,您可以向根叔知了进行举报。 请您把以下内容通过邮件发送到pub.zhiliao@h3c.com 邮箱,我们会尽快处理。
  • 1. 您举报的内容以及侵犯了您什么权益?(请在邮件中列出您举报的内容、链接地址,并给出简短的说明)
  • 2. 您是谁?(身份证明材料,可以是身份证或护照等证件)
我们认为知名企业应该坦然接受公众讨论,对于答案中不准确的部分,我们欢迎您以正式或非正式身份在根叔知了上进行澄清。

对根叔社区有害的内容

×

垃圾广告信息
色情、暴力、血腥等违反法律法规的内容
政治敏感
不规范转载 >
辱骂、歧视、挑衅等(不友善)
骚扰我
诱导投票

不规范转载

×

举报说明