• 全部
  • 经验案例
  • 典型配置
  • 技术公告
  • FAQ
  • 漏洞说明
  • 全部
  • 全部
  • 大数据引擎
  • 知了引擎
产品线
搜索
取消
案例类型
发布者
是否解决
是否官方
时间
搜索引擎
匹配模式
高级搜索

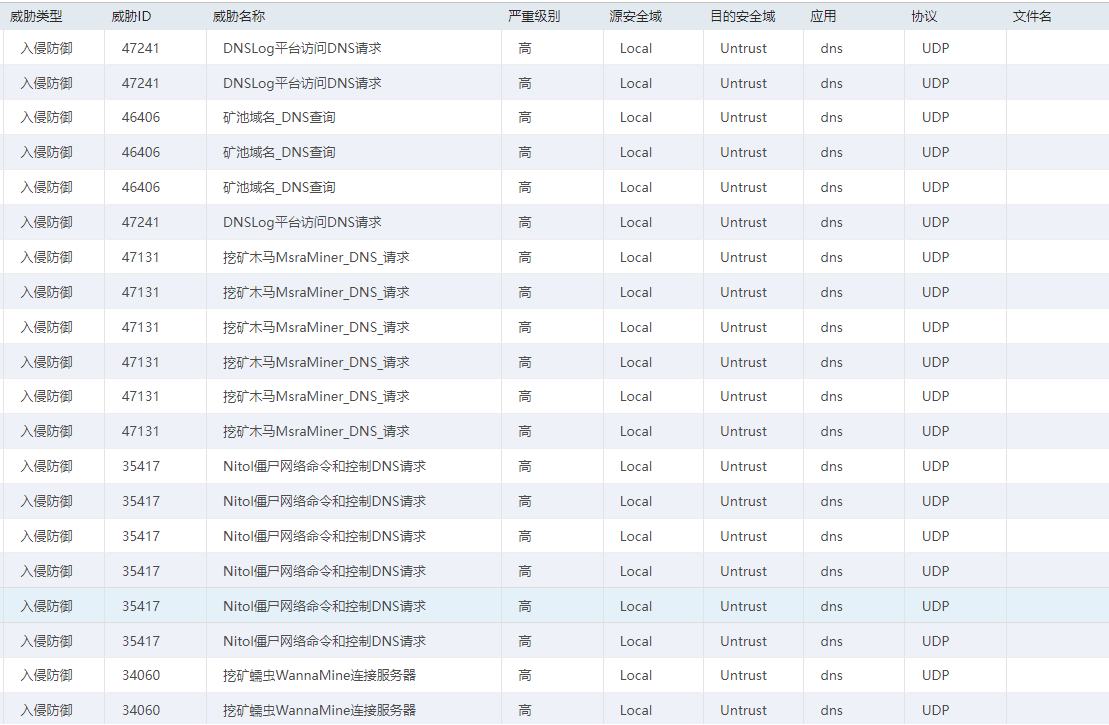
H3C SecPath F100+恶意DNS流量

4天前提问
  • 0关注
  • 0收藏,118浏览
粉丝:0人 关注:0人

问题描述:

源地址是公网IP,目的地址是DNS+53端口,这个改如何排查,我断掉所有内网能上网的终端,还是会有防火墙威胁日志

8 个回答
粉丝:133人 关注:9人

安全策略限制一下,限制公网到防火墙的DNS请求


从公网过来的吧,安全策略限制掉就好

zhiliao_sEUyB 发表时间:3天前 更多>>

这个是外部有攻击还是内部有终端中木马呢?

子浪缺耳机 发表时间:3天前

应该是有攻击

zhiliao_sEUyB 发表时间:3天前

详情里看下源目IP就知道了

zhiliao_sEUyB 发表时间:3天前
回复zhiliao_sEUyB:

源IP地址是公网地址,看不到真实IP地址

子浪缺耳机 发表时间:3天前

从公网过来的吧,安全策略限制掉就好

zhiliao_sEUyB 发表时间:3天前
粉丝:192人 关注:0人

您好,把53端口的外部访问关掉就好

关掉还是有

子浪缺耳机 发表时间:3天前 更多>>

关掉还是有

子浪缺耳机 发表时间:3天前
粉丝:2人 关注:10人

我感觉你解决问题的方向错了,你现在要做的是 解决这个终端中毒的问题,而不是说把终端断网,你纯粹断网有什么用呢,终端没有关机的情况下,一直会在请求啊,所以你防火墙一直还是会有日志啊

你要做的是把中毒的那台终端关机,而不是断网

回复安尼尔:

对对对

子浪缺耳机 发表时间:3天前 更多>>

要一台一台排查吗,看不到真实IP地址

子浪缺耳机 发表时间:3天前

源ip 是防火墙上配置的公网IP?? 目的是dns 类似114.114.114.114 这种IP吗

安尼尔 发表时间:3天前
回复安尼尔:

对对对

子浪缺耳机 发表时间:3天前
zhiliao_ce1wQl 知了小白
粉丝:0人 关注:0人

为啥是local域?开了DNS代理

没开,local看解释是防火墙本身

子浪缺耳机 发表时间:3天前 更多>>

没开,local看解释是防火墙本身

子浪缺耳机 发表时间:3天前
子浪缺耳机 知了小白
粉丝:0人 关注:0人

而且目前是断断续续的,不规律,有时中间可能隔不到一小时的时间没产生日志,然后就又有日志

粉丝:0人 关注:1人

查一下防火墙是不是设置了黑名单

先把黑名单备份,然后删除黑名单试下吧

i人我饮酒醉 发表时间:3天前 更多>>

之前碰到过,防火墙设置的对象组里面有恶意URL,会出现这个问题

i人我饮酒醉 发表时间:3天前

对象组有黑名单域名,然后做了策略拒绝

子浪缺耳机 发表时间:3天前

先把黑名单备份,然后删除黑名单试下吧

i人我饮酒醉 发表时间:3天前
z6Kl9 九段
粉丝:79人 关注:2人

是不是防火墙全局本机配置了dns代理和dns地址。把这些删就行了

把这个删掉就没有了,之前我也碰到过这种情况

z6Kl9 发表时间:2天前 更多>>

没有,dns只有个公网的dns

子浪缺耳机 发表时间:3天前

把这个删掉就没有了,之前我也碰到过这种情况

z6Kl9 发表时间:2天前
粉丝:39人 关注:1人

 display attack-defense top-attack-statistics

用这个命令看一下哪个地址被攻击的多

查不到相关的,只有一条外部攻击的

子浪缺耳机 发表时间:3天前 更多>>

查不到相关的,只有一条外部攻击的

子浪缺耳机 发表时间:3天前

编辑答案

你正在编辑答案

如果你要对问题或其他回答进行点评或询问,请使用评论功能。

分享扩散:

提出建议

    +

亲~登录后才可以操作哦!

确定

亲~检测到您登陆的账号未在http://hclhub.h3c.com进行注册

注册后可访问此模块

跳转hclhub

你的邮箱还未认证,请认证邮箱或绑定手机后进行当前操作

举报

×

侵犯我的权益 >
对根叔社区有害的内容 >
辱骂、歧视、挑衅等(不友善)

侵犯我的权益

×

泄露了我的隐私 >
侵犯了我企业的权益 >
抄袭了我的内容 >
诽谤我 >
辱骂、歧视、挑衅等(不友善)
骚扰我

泄露了我的隐私

×

您好,当您发现根叔知了上有泄漏您隐私的内容时,您可以向根叔知了进行举报。 请您把以下内容通过邮件发送到pub.zhiliao@h3c.com 邮箱,我们会尽快处理。
  • 1. 您认为哪些内容泄露了您的隐私?(请在邮件中列出您举报的内容、链接地址,并给出简短的说明)
  • 2. 您是谁?(身份证明材料,可以是身份证或护照等证件)

侵犯了我企业的权益

×

您好,当您发现根叔知了上有关于您企业的造谣与诽谤、商业侵权等内容时,您可以向根叔知了进行举报。 请您把以下内容通过邮件发送到 pub.zhiliao@h3c.com 邮箱,我们会在审核后尽快给您答复。
  • 1. 您举报的内容是什么?(请在邮件中列出您举报的内容和链接地址)
  • 2. 您是谁?(身份证明材料,可以是身份证或护照等证件)
  • 3. 是哪家企业?(营业执照,单位登记证明等证件)
  • 4. 您与该企业的关系是?(您是企业法人或被授权人,需提供企业委托授权书)
我们认为知名企业应该坦然接受公众讨论,对于答案中不准确的部分,我们欢迎您以正式或非正式身份在根叔知了上进行澄清。

抄袭了我的内容

×

原文链接或出处

诽谤我

×

您好,当您发现根叔知了上有诽谤您的内容时,您可以向根叔知了进行举报。 请您把以下内容通过邮件发送到pub.zhiliao@h3c.com 邮箱,我们会尽快处理。
  • 1. 您举报的内容以及侵犯了您什么权益?(请在邮件中列出您举报的内容、链接地址,并给出简短的说明)
  • 2. 您是谁?(身份证明材料,可以是身份证或护照等证件)
我们认为知名企业应该坦然接受公众讨论,对于答案中不准确的部分,我们欢迎您以正式或非正式身份在根叔知了上进行澄清。

对根叔社区有害的内容

×

垃圾广告信息
色情、暴力、血腥等违反法律法规的内容
政治敏感
不规范转载 >
辱骂、歧视、挑衅等(不友善)
骚扰我
诱导投票

不规范转载

×

举报说明