WiFi会自动断线,就算在用的时候,也会断掉,但是在AP上面没发现AP有重启或者掉线的情况
麻烦各位大神给于一个好方案,或者给与帮助,小弟在此谢过
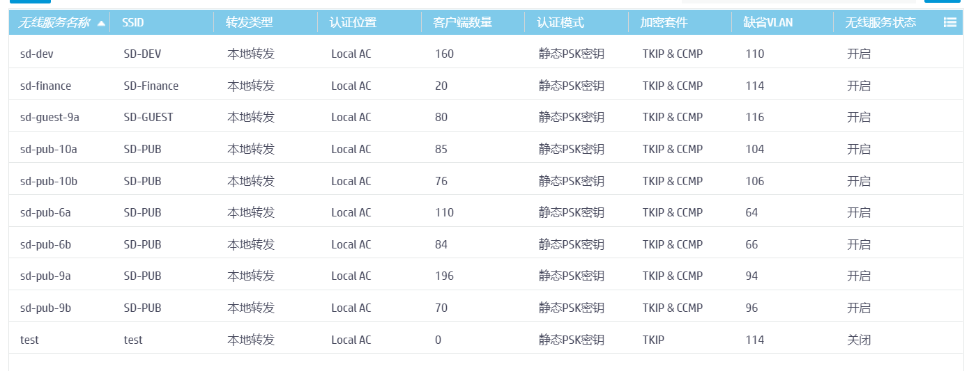
设置列表
目前,有四个WiFi信号,三层楼,一层楼会给网段为23的掩码为划分




(0)
最佳答案
1、确保AC版本不能太低,有条件的情况下可以升级AC版本;
2、需要完成基本的无线优化 ,比如信道、功率、二层隔离等等。
(0)
征求有偿远程帮忙解决问题
亲~登录后才可以操作哦!
确定你的邮箱还未认证,请认证邮箱或绑定手机后进行当前操作
举报
×
侵犯我的权益
×
侵犯了我企业的权益
×
抄袭了我的内容
×
原文链接或出处
诽谤我
×
对根叔社区有害的内容
×
不规范转载
×
举报说明
征求有偿远程帮忙解决问题