最佳答案
查看安全策略的日志

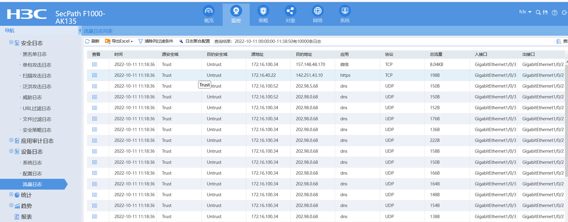
流量日志上也能看到

如果看不到的话配置上下面的命令
session statistics enable
y
session top-statistics enable
application global statistics enable
如果application global statistics enable命令敲不上,使用下面命令试试
dac traffic-statistic user enable verbose
dac traffic-statistic application enable verbose
同时开启流量日志(用户排行、应用排行 是从流量日志中获取)
(0)
你需要开启才行,再策略的编辑界面有个日志的勾选,勾上就行了:
https://www.h3c.com/cn/d_202108/1449903_30005_0.htm
(0)
安全策略日志我有开启记录日志为什么看不到
安全策略日志我有开启记录日志为什么看不到
亲~登录后才可以操作哦!
确定你的邮箱还未认证,请认证邮箱或绑定手机后进行当前操作
举报
×
侵犯我的权益
×
侵犯了我企业的权益
×
抄袭了我的内容
×
原文链接或出处
诽谤我
×
对根叔社区有害的内容
×
不规范转载
×
举报说明
可以看到了,这些日志可以发送到日志服务器去存储吗