
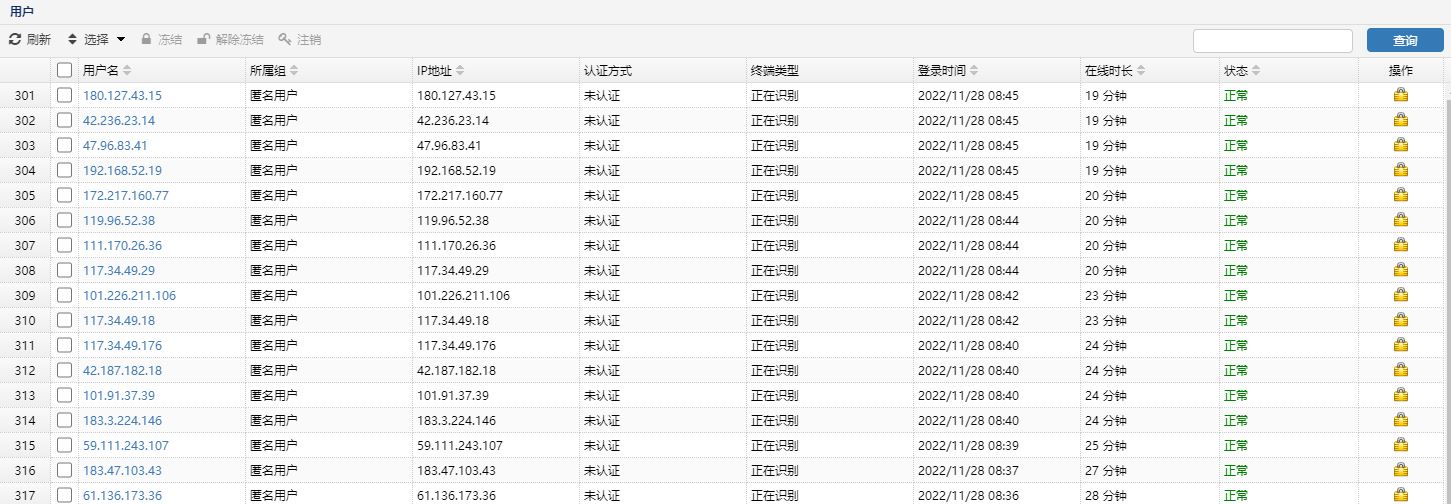
局域网架构:路由器-acg1000-核心交换机。acg1000在线用户出现很多奇怪ip地址。如何清理?
(0)
改一下识别模式

项目 | 说明 |
识别范围 | 标示用户识别范围的地址对象或者地址对象组。 用户只有同时在用户识别范围内和相应的认证网段中,使用流量的时候才会触发认证过程。如该用户不在用户识别范围内,则不会触发认证过程,也不会识别为匿名用户;如该用户在用户识别范围内,但不在任何一个认证网段中,则该用户被识别为匿名用户。 |
识别模式 | 识别模式分为“启发模式”和“强制模式”两种,默认配置为强制模式,识别范围默认配置均为private私网地址段。 “启发模式”指的是,优先将属于识别范围的IP地址识别为在线用户,并且根据流量发起方先识别源IP,再识别目的IP,如果源IP和目的IP都不在识别范围中时则将源IP识别为在线用户。 “启发模式”使用场景:对用户识别要求不严格的情况下使用启发模式,在线用户中会出现非识别范围内的用户(如:同时出现私网IP和公网IP的用户),所以统计到的在线用户数量会比较多,在此模式下需要将识别范围修改成内网实际使用的地址网段,否则会导致用户识别不精确。 “强制模式”指的是,只将属于识别范围的IP地址识别为在线用户,并且根据流量发起方先识别源IP,再识别目的IP,只有源IP或目的IP地址中的一个属于识别范围时,才会被识别为在线用户;否则此IP地址流量不受系统转发流程中用户识别后的所有功能模块限制,如:用户策略、安全策略、应用识别和审计、入侵检测、病毒防护、QOS。 “强制模式”使用场景:对用户识别要求严格的情况下使用强制模式,在线用户中只会存在识别范围内的用户,过滤掉了不属于内网地址段的用户,精简了在线用户列表,只显示用户真正关心的数据,同时提升了设备性能,不在识别范围内的IP流量不走用户认证流程,避免了对用户不关心数据的处理,在此模式下务必将识别范围修改成内网实际使用的地址网段,避免因识别范围配置错误导致的用户关心的IP地址流量不受用户策略控制的情况出现。 |
(0)
亲~登录后才可以操作哦!
确定你的邮箱还未认证,请认证邮箱或绑定手机后进行当前操作
举报
×
侵犯我的权益
×
侵犯了我企业的权益
×
抄袭了我的内容
×
原文链接或出处
诽谤我
×
对根叔社区有害的内容
×
不规范转载
×
举报说明
暂无评论