F100 C-G5 透明模式3、4端口接内网、6接路由器LAN1。目前VLAN1 VLAN2工作正常




防火墙5端口应该是VLAN3,获取到2网段的IP。现在是能获取到正确的IP,但不能与1网段和3网段互通,也不能和路由器防火墙互通。是什么原因?
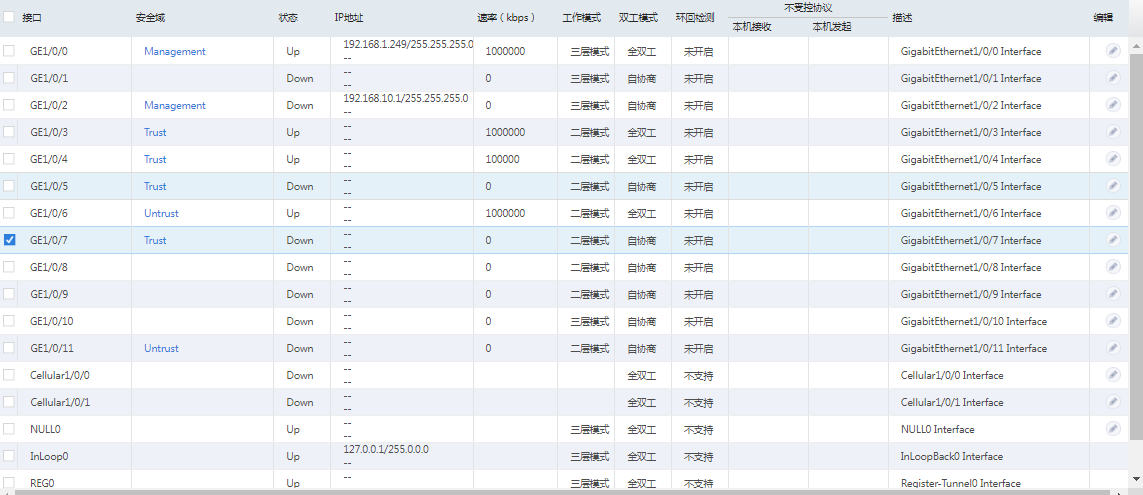
如果端口7也要配置成VLAN1,该怎么配置?
(0)
最佳答案
防火墙5端口应该是VLAN3,获取到2网段的IP。现在是能获取到正确的IP,但不能与1网段和3网段互通,也不能和路由器防火墙互通。是什么原因?
路由器是2 3 网段,1网段在哪? 网关都在路由器吗,防火墙配置一下security-zone intra-zone default permit命令然后策略先any一下,看看是不是安全策略问题。
如果端口7也要配置成VLAN1,该怎么配置?
防火墙端口7么?现在就是vlan1
(0)
亲~登录后才可以操作哦!
确定你的邮箱还未认证,请认证邮箱或绑定手机后进行当前操作
举报
×
侵犯我的权益
×
侵犯了我企业的权益
×
抄袭了我的内容
×
原文链接或出处
诽谤我
×
对根叔社区有害的内容
×
不规范转载
×
举报说明
看我下面的回答,对吗?