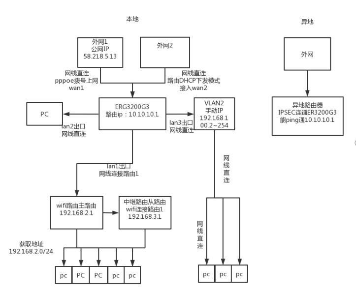
本地组网如下
请教下
想要实现异地和本地组成一个局域网,能在异地连接连接内网服务器。
192.168.100.2为服务器地址
现在两个路由之间连通了ipsec,异地可以ping通ERG3的10.10.10.1或者改配置后可以ping通192.168.100.1,但是无法ping通192.168.100.2,需要做什么?
还有,如果想要在家里连接服务器应该怎么做?

(0)
最佳答案
亲~登录后才可以操作哦!
确定你的邮箱还未认证,请认证邮箱或绑定手机后进行当前操作
举报
×
侵犯我的权益
×
侵犯了我企业的权益
×
抄袭了我的内容
×
原文链接或出处
诽谤我
×
对根叔社区有害的内容
×
不规范转载
×
举报说明
暂无评论