报错情况:

正在进行的设置:(除了新建vlan的操作会报错,做修改lan端口的设置等等,也会报错)

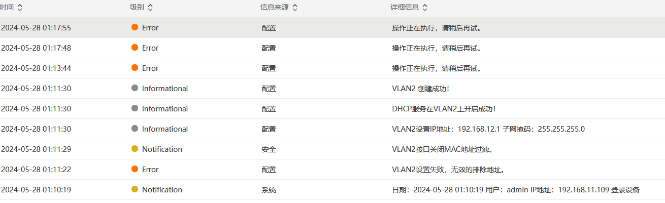
系统日志:

组网情况:非本地网络。ER3200G3下挂蒲公英路由器,设置192.168.11.1/24旁路,通过互联网及蒲公英客户端登录,进行的访问。
设备情况:

临时解决办法:
重启ER3200G3路由器。
(0)
可能是因为设备正在进行其他操作或更新,导致当前操作无法立即执行。可以看下cpu内存高不高
(0)
cpu占用真不高,【 当前使用率4% 平均使用率7%】,我观察最高才21%;内存47%
亲~登录后才可以操作哦!
确定你的邮箱还未认证,请认证邮箱或绑定手机后进行当前操作
举报
×
侵犯我的权益
×
侵犯了我企业的权益
×
抄袭了我的内容
×
原文链接或出处
诽谤我
×
对根叔社区有害的内容
×
不规范转载
×
举报说明
cpu占用真不高,【 当前使用率4% 平均使用率7%】,我观察最高才21%;内存47%