公司新更换了UR7808,之前用的是艾泰的4240G,照着4240G的NAT配置抄过来的,现在外网无法访问内部主机,内部端口和外部端口设置的是一样的
(0)
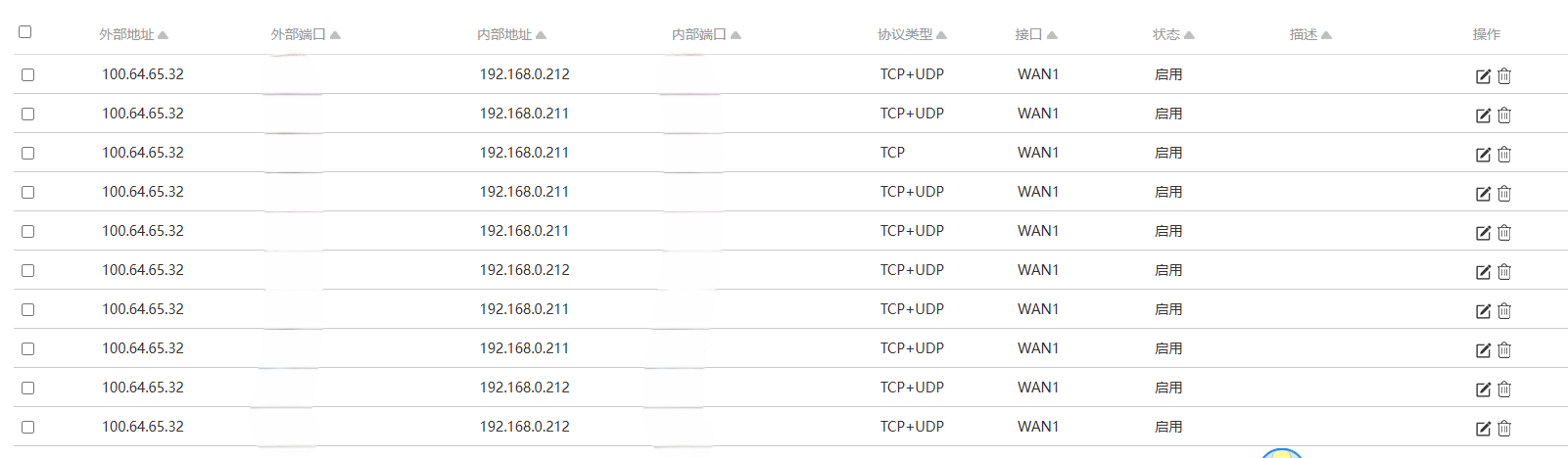
您好,你这没有配置外部和内部端口呀,怎么访问,加上对应的配置即可
(0)
仔细看,他端口应该配置了,只是照片他给修没了
仔细看,他端口应该配置了,只是照片他给修没了
亲~登录后才可以操作哦!
确定你的邮箱还未认证,请认证邮箱或绑定手机后进行当前操作
举报
×
侵犯我的权益
×
侵犯了我企业的权益
×
抄袭了我的内容
×
原文链接或出处
诽谤我
×
对根叔社区有害的内容
×
不规范转载
×
举报说明