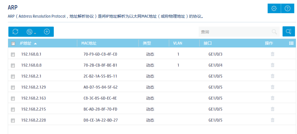
下图电脑3、4接口是电脑和ap 但没有分配到地址 但电脑实际已经获得IP地址(见图2)

如上图(图2)arp里面能看到ap(192.168.0.1)和电脑(192.168.0.8) 但是搜寻不到ap,并且【接口】列表下也看不到设备得到的地址(图1)
最佳答案
检查ac和ap是否适配,ac上是否注册license,ac和ap之间能否ping通,如果可以ping通,稍微等十几分钟应该会上线,并且可以开启自动上线试一下自动上线
(0)
你好 不能ping通ap 但能ping 通电脑 电脑能上网了
不能ping通ap的话,那是不能上线的,他们是同网段吗?ping不通的话还是检查地址获取的问题吧
将ap换到电脑的那个网线上能不能获取地址,ap是瘦ap吗
亲~登录后才可以操作哦!
确定你的邮箱还未认证,请认证邮箱或绑定手机后进行当前操作
举报
×
侵犯我的权益
×
侵犯了我企业的权益
×
抄袭了我的内容
×
原文链接或出处
诽谤我
×
对根叔社区有害的内容
×
不规范转载
×
举报说明
是瘦ap 大神微信多少 求指点